浮球液位計連接方式的選擇
浮球液位計具有適應性強、無需調效、免維護等特點,廣泛應用于石油、化工、環保、冶金、食品等行業。
但在具體應用過程中,部分客戶過程連接選擇錯誤的現象時有發生。
在此我們談談安裝浮球液位計時過程連接如何選擇的問題,以供客戶參考。
浮球液位計的測量原理和應用

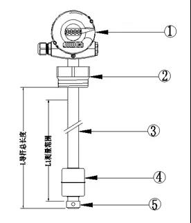
浮球液位計結構圖
①表頭 ②過程連接 ③導桿 ④浮球 ⑤鎖緊環
浮球液位計是基于阿基米德浮力原理設計的。當容器的液位變化時,浮球也隨著上下移動,由于磁性作用,浮球液位計的干簧管受磁性吸合,從而使傳感器內電阻成線性變化,再由轉換器將這個阻值的變化轉換成4~20mA標準直流信號輸出,實現液面的遠距離檢測和控制。
在工業現場,液位測量的工況非常復雜,計為工程師在選型之前一般都須了解測量介質的物理和化學特性。除了要考慮溫度、壓力、腐蝕性和液體粘稠度等因素外,對浮球液位計還需要特別考慮介質的密度。根據測量范圍、介質密度等的不同要求,選擇不同過程連接、測量精度、防護等級、防爆等級等的儀表,以與現場工況相匹配,實現液位的安全和可靠測量。

浮球液位計的過程連接究竟如何選擇
其中,對于過程連接的選擇經常會被疏忽,它看起來雖然簡單,卻十分關鍵。
如果過程連接選擇螺紋安裝,此時,就需考慮浮球是否能放進螺紋孔。
通常,為了達到*佳測量精度和更可靠的測量效果,在設計浮球液位計時需根據不同的液體密度來選擇不同大小的浮球,根據介質密度需要選擇大浮子時,選用螺紋過程連接,常會導致現場無法安裝的情況出現。
為避免這種情況的發生,計為自動化通常建議客戶選擇法蘭過程連接,而且盡量選擇較大通孔的法蘭,這樣可實現以下好處:
1、選擇較大通孔的法蘭,可以適當增加浮球橫向直徑,減少浮球縱向高度,從而提高測量精度。
2、選擇較大通孔的法蘭,可以適當增加探桿直徑,提高探桿強度,對較大量程(或插入深度)應用具有特別的意義。
3、不同廠家的設備,往往具有不同的浮球大小和介質密度匹配規則,選擇較大通孔的法蘭,提高日后與不同廠家設備的匹配度和更換的靈活性。

